Products sort
J01 02 light duty

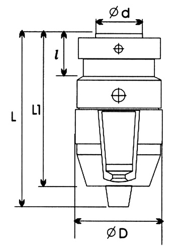
SELF-TIGHTEN DRILL CHUCK(LIGHT DUTY)

Similar Products
Data sheets
Description

Part No Model Capacity
(mm)
Tapering
Hole NO.
Taper d (mm) I (mm) D
(mm)
L
(mm)
L1
(mm)
KG Check Rod(mm) Precision N.M
Big Rod Smal Rodl
802001 JQ0106 0.5-6mm B10 2°51'26.7" 10.09 14.5 34 71.2 61.4 0.32 6x65 4x45 0.2 3
821101 JQ0206 1/64"-1/4" JT1 4°24'53.1" 9.754 16.67 34 71.2 61.4 0.32 6x65 4x45 0.2 3
814201 JQ0108 0.5-8 B12 2°51'26.7" 12.07 18.5 34 71.2 61.4 0.5 8x80 4x45 0.2 4
833201 JQ0208 1/64"-5/16" JT2 4°40'11.6" 14.2 22.23 34 71.2 61.4 0.5 8x80 4x45 0.2 4
804201 JQ0110 1-10mm B12 2°51'26.7" 12.07 18.5 36 78 70 0.7 10x95 5x60 0.2 6
823201 JQ0210 1/32"-3/8" JT2 4°40'11.6" 14.2 22.23 36 78 70 0.7 10x95 5x60 0.2 6
806301 JQ0113 1-13mm B16 2°51'41.0" 15.73 24 49 94.5 85.2 0.96 13x105 6x65 0.2 12
825401 JQ0213 1/32"-1/2" JT33 3°38'13.4" 15.85 25.4 44 94.5 85.2 0.96 13x105 6x65 0.2 12
808301 JQ0116 1-16mm B18 2°51'41.0" 17.78 32 54 103 93 1.24 16x110 8x80 0.2 14
827701 JQ0216 1/32"-5/8" JT6 2°58'24.8" 17.17 25.4 50.5 116 102 1.24 16x110 8x80 0.2 14
810401 JQ0120 5-20mm B22 2°52'31.5" 21.79 40.5 59 124.2 116 1.7 20x120 10x95 0.2 16
829301 JQ0220 3/16"-3/4" JT3 3°3'3" 20.6 30.96 59 124.2 116 1.7 20x120 10x95 0.2 16

 

WEIHAI HUITONG HARDWARE & MACHINERY CO.,LTD.
Unit 1201,Jinhou Business-BLDG., NO. 109C, Xinwei Road, Weihai City, China
Tel:0086-631-5300306,5300706 / Fax:0086-631-5300809,5321935 / E-mail:sales@htong-tools.com pure@htong-tools.com
Copyright 2011 Weihai Huitong Hardware & Machinery Co., Ltd.i All Rights Reserved.